Home   |  Schematics |  Products |  Tutorials  |  Datasheets  |  Robotics   |   Download    |   Link Exchange


Direct Current
Alternating Current
Digital Electronics
PC Architecture
Electronics Dictionary
Resources

Experiment
Calculator/Converters
Radio
Newsletter
Associations and Societies
Component Manufacturers


Electronics Symentics


Automative, car and motorcycle schematics

Wireless Auto Tachometer

Anyone performing their own automobile tune-ups knows how important it is to know your engines speed. With this tachometer, you can measure your engines speed without any connections or annoying timing lights.

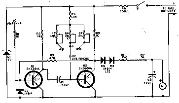
Schematic

 

PC board layout and parts placement

 

Parts:

Part
Total Qty.
Description
C1 1 0.47uF Capacitor
C2 1 47uF Electrolytic Capacitor
D1 1 8V 1W Zener Diode
D2, D3, D4 3 1N914 Diode
M1 1 200uA Meter
Q1, Q2 2 2N3391A Transistor
R1, R2, R9 3 1K 1/2 W Resistor
R3 1 47K 1/2 W Resistor
R4 1 10K 1/2 W Resistor
R5, R6 2 25K Trim Pot
R7 1 10K Trim Pot
R8 1 200 Ohm 2 W Resistor
R10 1 15K 1/2 W Resistor
R11 1 2.2K 1/2 W Resistor
S1 1 SPST Togglae Switch
S2 1 Three Position Single Pole Rotary Switch
MISC 1 Telescoping Radio Antenna, Enclosure, Power Cable and Battery Connector

Notes:

  1. Calibrate the unit as follows:

    1. Set up this circuit:

    1. Turn on the Tach and allow a few minutes for temperature stabilization.

    2. Set S2 to 4 cylinders and adjust R5 for a meter indication of 180 (1800 rpm).

    3. Set S2 to 6 cylinders and adjust R6 for a meter indication of 120 (1200 rpm).

    4. Set S2 to 8 cylinders and adjust R7 for a meter indication of 90 (900 rpm).

  2. To use the Tach, turn it on and let it sit for one minute to allow for temperature stabilization. Extend the antenna, select the right number of cylinders and hold the unit over the engine. If the reading is erratic or the needle jumps around, move the antenna closer to the ignition coil or spark plug wires.

  3. The unit draws power from the car battery. If it is connected backwards, it will not work, but it won't be damaged





Home  Products  Tutorials   Schematics   Robotics   Resources   Radio Stuff    Career    Download   Link Exchange

HTML Sitemap   XML Sitemap


Terms & Conditions  Privacy Policy and Disclaimer